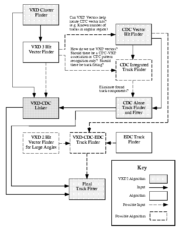
VXD Offline Flow Chart for New Tracking